Welcome,
My Cart
0 item(s)

Models

Parts


product name

Ryobi 31AE660F013 (2002) Snow Thrower

Model: 31AE660F013 (2002)

Save
Part Not Listed?Part Not Listed?

product name

Drive & Frame

...
...
1
Hex Screw MTD-710-1652

...
2
DRIVE GUIDE BRACKET MTD-784-5688

...
3
AUGER GUIDE BRACKET MTD-784-5687A

...
4
Roller Cable MTD-756-0625

...
5
Shlder Screw, .375 ID x 1/4-14 MTD-738-0924A

...

...
7
BALL BEARING MTD-941-0563

...
8
Bell Washer MTD-736-0105

...
9
Lock Jam Nut MTD-712-0116

...
10
Hex Flange Brg. .752" I.D. MTD-941-0598

...
11
Flat Washer MTD-736-0188

...
12
GUIDE BRACKET MTD-784-5689A-0637

...
13
Lock Hex Screw MTD-710-0538

...
14
Bell Washer .340 ID x .872 OD MTD-736-0242

...
15
Cotter Pin MTD-714-0474

...
16
Flat Washer .536 ID x .930 OD MTD-736-0160

...
17
Hex Washer Screw 1/4-20 MTD-710-0788

...
18
Frame Shift Bracket MTD-784-5590

...
19
FRAME COVER MTD-784-5638A

...
20
Hex Washer TT Screw 1/4-20 MTD-710-1652

...
21
Flat Washer .760 ID x .50 OD MTD-736-0351

...


...
24
7-Tooth Shaft MTD-917-04094

...
25
Spring Roll Pin 1.12" Lg. MTD-915-0249

...
26
Click Pin MTD-714-0143A

...
27
Wheel Assembly Friction MTD-984-0042C

...
28
Friction Wheel Disc Ass'y. MTD-956-0012A

...
29
SHIFT ROD ASSEMBLY MTD-684-04243

...
30
Cable-Auger Clutch MTD-946-0897

...
31

...
32
BRACKET ASSEMBLY MTD-984-0021-0637

...
33
Ext. Spring .38n O.D. x 2.5" MTD-932-0264

...
34
Jam Nut 3/8-24 MTD-712-0711

...
35
Cable-Drive Clutch MTD-946-0898

...
36
Axle 13" Wheels MTD-738-0869

...
xx
AXLE .750X24.5 MTD-738-0830

...
37
Wheel Assembly Friction MTD-984-0042C

...
38
Rubber Only MTD-935-0243B

...
39
Wheel Assembly Friction MTD-984-0042C

...
40
FRICTION WHEEL BEARING ASSEMBLY MTD-618-0063

Engine & Belt

...
...
1
Hex Washer Screw 1/4-20 x .625 MTD-710-1652

...
2
Belt Cover MTD-731-1324

...
3
Extension Spring MTD-932-0710

...
4
Hex Screw 5/16-24 x .75 MTD-710-0627

...
5
Hex Cap Screw 3/8-16 x 1.25 MTD-710-3005

...
6
BRACKET-IDLR- MTD-05896A

...
7
Shoulder Spacer MTD-748-0234

...
8
HALF PULLEY MTD-956-0987

...
9
V - Belt MTD-954-0346

...
10
HALF PULLEY MTD-756-0986

...
11
SPRING WASHER BELL MTD-736-0270

...
12
HEX SCREW 1/4-28 x .50 GR5 MTD-710-0230

...
13
Flat Idler MTD-756-0313

...
14
SCREW 5/16-24 x .875 GR5 MTD-710-1245A

...
15
Lock Jam Nut 3/8-16 MTD-712-0181

...
16
Pulley Half MTD-756-0569

...
17
Bell Washer MTD-736-0242

...
18
Flat Washer MTD-736-0505

...
19
BELT: 3V X 35.00 LG MTD-954-0430C

...
20
Auger Pulley MTD-756-0967

...
21
Flat Washer 3/8 x 1.25 OD MTD-736-0247

...
22
Bell Washer MTD-736-0331

...
23
Hex Cap Screw 3/8-24 MTD-710-0696

...
24
Adapter Pulley MTD-948-0360

...
25
Hex Screw 3/8-16 x 1.0 MTD-710-0654A

...
26
3-Prong Extension Cord MTD-929-0071B

...
27
STARTER MOTOR MTD-TC-33329H

Gear Assembly

...
...
1
RH Housing MTD-918-0123A

...
2
LH Housing MTD-918-0124A

...
3
Hex Screw 1/4-20 x .75 MTD-710-0642

...
4
24"AUGER SHAFT MTD-711-0908A

...
xx
26"AUGER SHAFT MTD-711-0909A

...
xx
Spiral Axle 28" MTD-711-0910A

...
5
KEY 3/16 x 5/8 H MTD-914-0161

...
6
Pin-Spiral MTD-715-0143

...
7
WORM GEAR 20T MTD-917-04861

...
8
IMPELLER SHAFT MTD-717P0526

...
9
Thrust Collar MTD-718-0186

...
10
Grease Plug MTD-721-0325

...
11
Grease Seal MTD-721-0327

...
12
Flat Washer .76 x 1.5 x .030 MTD-736-0351

...
13
Flat Washer .508 x 1.0 x .020 MTD-736-0369

...
14
Flat Washer .76 x 1.5 x .060 MTD-736-0445

...
15
Flange Bearing .75 x 1.0 x .59 MTD-741-0662

...
16
Flange Bearing .75 x 1.0 x .925 MTD-741-0663

...
17
GEARBOX ASSEMBLY 24" W FITTING MTD-918-0414B

...
xx
Gear Assembly: Auger 26" MTD-918-0415B

...
xx
Gear Assembly: Auger 28" MTD-918-0416B

General Assembly

...
...
1
Lock Jam Nut 3/8-24 MTD-712-0116

...
2
Flat Idler MTD-756-0178

...
3
Auger Idler Brkt. MTD-984-0064-0637

...
4
Hex Cap Screw 3/8-24 x 1.50 MTD-710-0459A

...
5
Shoulder Screw MTD-738-0281

...
6
Wave Washer MTD-736-0174

...
7
Ext. Spring 3.6" Lg. MTD-932-0611

...
8
Hex L-Nut 5/16-18 Thd. MTD-712-3009

...
9
HEX NUT 5/16-18 MTD-712-3010

...
10
Lock Wash. 5/16" I.D. MTD-936-0119

...
11
Bearing Housing MTD-05931A

...
12
Flange Ball Bearing MTD-941-0309

...
13
Carriage Bolt 5/16-18 x .75 MTD-710-0451

...
14
Reinforcement Chute MTD-705-5226

...
15
24" HOUSING ASSEMBLY MTD-684-0039D

...
xx
26" HOUSING ASSEMBLY MTD-684-0040D

...
xx
28" HOUSING ASSEMBLY MTD-684-0041D

...
16
HEX NUT 5/16-18 MTD-712-3010

...
18
Bell Washer MTD-736-0242

...
19
BUSHING .380 ID MTD-941-0475

...
20
Chute Crank Bracket MTD-784-5647-0637

...
21
Adapter Chute MTD-731-1379D

...
22
Hex Lock Nut 1/4-20 MTD-712-0324

...
23
Flat Washer MTD-736-0463

...
25
Carriage Screw 1/4-20 x .75 MTD-710-0703

...
26
Hex Washer TT Screw 5/16-18 MTD-710-0604A

...
27
Lock Washer 3/8 MTD-736-0169

...
28
Hex Nut 3/8-16 MTD-712-0798

...
30
Snow Shoe MTD-784-5580

...
31
Bell Washer MTD-736-0242

...
32
HEX NUT 5/16-18 MTD-712-3010

...
33

...
xx
Shave Plate: Auger 26" MTD-790-00121-0637

...
xx
Shave Plate: Auger 28" MTD-790-00118-0637

...
34
Carriage Bolt 5/16-18 x.62 MTD-710-0260A

...
35
12" IMPELLER (3 BLADE) (POWDER BLACK) MTD-684-06276-0637


...
37
GEARBOX ASSEMBLY 24" W FITTING MTD-918-0414B

...
xx
Gear Assembly: Auger 26" MTD-918-0415B

...
xx
Gear Assembly: Auger 28" MTD-918-0416B

...
38
24" SPIRAL ASSEMBLY (RH) (POWDER BLACK) MTD-684-04180-0637

...
xx
Spiral Assembly: RH 26" MTD-684-04182-0637

...
xx
Spiral Assembly: RH 28" MTD-684-04184-0637

...
39
Flat Washer MTD-736-0188

...
40
FLANGE BUSHING MTD-741-0493C

...
41
Spiral 24" LH MTD-684-04181-0637

...
xx
26" SPIRAL ASSEMBLY (LH) (POWDER BLACK) MTD-684-04183-0637

...
xx
28" SPIRAL ASSEMBLY (LH) (POWDER BLACK) MTD-684-04185-0637

...
42
Shear Bolt 5/16-18 x 1.5 MTD-710-0890A

...
43
Lock Nut 5/16-18 MTD-712-0429

...
44
Hex Flange Bearing MTD-941-0245

...
45
Bearing Housing MTD-784-5618A-0637

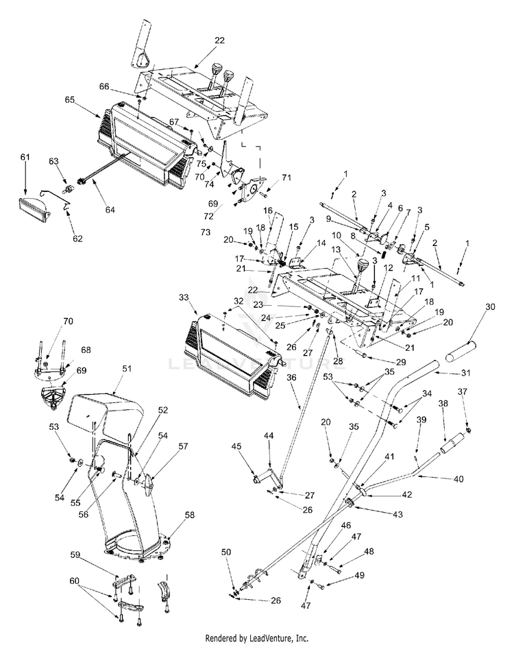
Handle & Chute

...
...
1
Cotter Pin MTD-714-0507


...
3
Hex Washer Screw 1/4-20 x .5 MTD-710-0599

...
4
Brkt., Handle Support - RH MTD-784-5680-0637

...
5
HANDLE BRACKET (LH) MTD-784-5679-0637

...
6
Cam Lock Handle MTD-748-0362

...
7
Handle Lock Pawl MTD-948-0363

...
8
Compression Spring MTD-732-0145

...
9
Clevis Pin MTD-711-0653

...

...
11
HANDLE-ENGAGEMENT (LH) MTD-684-0037B

...
12
Handle Support Bracket - LH MTD-784-5681

...
13
KIT-SHIFT HANDLE:S MTD-753-05395

...
14
Brkt., Handle Support - RH MTD-784-5682-0637

...
15
Torsion Spring MTD-732-0746

...
16
HANDLE-ENGAGEMENT (RH) MTD-684-0036A

...
17
Rubber Bumper MTD-735-0199A

...
18

...
19
Lock Wash. 5/16" I.D. MTD-936-0119

...
20
HEX NUT 5/16-18 MTD-712-3010

...
21
Cable "Z" Fitting MTD-946-0778

...
22
HANDLE PANEL ASSEMBLY MTD-684-0103A

...
xx
Panel, Handle Chute Tilt Models only MTD-684-0102A

...
23
Jam Lock Nut 3/8-24 MTD-712-0116

...
24
Compression Spring MTD-732-0193

...
25
Bell Washer MTD-736-0105

...
26
Cotter Pin MTD-714-0104

...
27
FLAT WASHER MTD-736-0275

...
28
Engagement Ferru MTD-911-0677

...
29
Hex Cap Screw 3/8-24 x 1.50 MTD-710-0459A

...

...
31
HANDLE (LH) MTD-749-0911C

...
xx
HANDLE (RH) (not shown) MTD-749-0910C-0637

...
32
Special Screw, #10-16 x .625 MTD-710-04669

...
33
Handle Panel MTD-731-1391

...
xx
HANDLE PANEL (BLACK) MTD-931-1393

...
34
Carriage Bolt 5/16-18 x 1.50 MTD-710-0262

...
35
Bell Washer .340 ID x .872 OD MTD-736-0242

...
36
Shift Rod MTD-747-0798A

...
37
Push Cap MTD-726-0100

...
38
Chute Knob MTD-720-0201A

...
39
Rolled Pin, 1/8 x .63 MTD-915-0138

...
40
Chute Crank Ass'y MTD-984-0022

...
41
UNKNOWN MTD-NA

...
42

...
43
Rubber Grommet MTD-735-0234

...
44
SHIFT ARM ASSEMBLY (POWDER BLACK) MTD-684-0008A-0637

...
45
Hex Washer Screw 1/4-20 x 1.0 MTD-710-0788

...
46
Handle Tab MTD-984-5599

...
47
Lock Wash. 5/16" I.D. MTD-936-0119

...
48
SCREW 5/16-18 x 1.75 GR5 MTD-710-3259

...
49
Hex Cap Screw 5/16-18 x .75 MTD-710-1880

...
50
Flat Washer MTD-736-0185

...
51
UPPER CHUTE (W/LBL MANUAL TILT) MTD-731-04426C

...
52
Lower Chute MTD-731-1300E

...
53
Hex L-Nut 5/16-18 Thd. MTD-712-3009

...
54
5/16 Washer MTD-736-0159

...
55
Carriage Bolt 5/16-18 x .75 MTD-710-0451

...
56
Carriage Screw 5/16-18 x 1.0 MTD-710-0276

...

...
58
LOCK NUT 1/4 MTD-912-3027

...
59
Flange Keeper MTD-731-0851A

...
60
Hex Cap Screw 1/4-20 x .75 MTD-710-3015

...
61
Lens/Lamp Assembly Housing If Equipped MTD-925-1672

...
62
Headlight Retaining Wire If Equipped MTD-747-1136

...
63
Lamp If Equipped MTD-925-1658

...
64
Halogen Light Harness If Equipped MTD-929-0059

...
65
HANDLE PANEL If Equipped MTD-731-1392

...
66
Hex Nut 1/4-20 If Equipped MTD-712-0271

...
67
Special Screw, #10-16 x .625 If Equipped MTD-710-04669

...
68
Chute Cable Bracket Chute Tilt Models only MTD-784-5594

...
69
Chute Tilt Cable Guide Chute Tilt Models only MTD-731-1313C

...
70
Lock Nut Chute Tilt Models only MTD-712-0429

...
71
SCREW 5/16-18 x 1.5 LG Chute Tilt Models only MTD-710-0805A

...
72
Chute Deflector Control Cable Chute Tilt Models only MTD-946-0896

...
73
Chute Deflector Cable w/ Clip Chute Tilt Models only MTD-946-0901

...
74
Handle, Chute Tilt Chute Tilt Models only MTD-784-5604A-0637

...
75
SPECIAL WASHER Chute Tilt Models only MTD-736-0506A

...
?76
AB Screw 1/4-14 x 0.625" Chute Tilt Models only MTD-710-0896

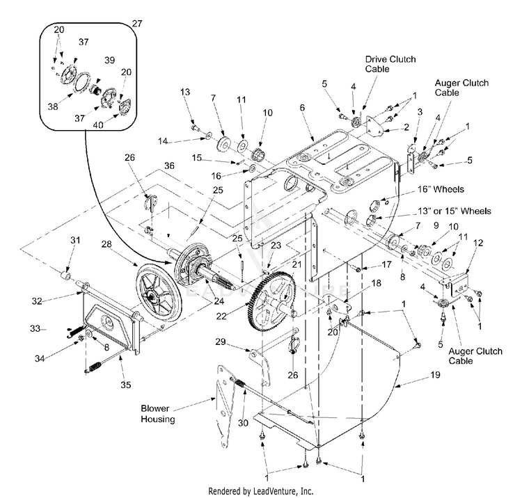
Wheel Assembly

...
...
1
WHEEL ASS'Y COMPLETE MTD-NA

...
xx
WHEEL ASSEMBLY 13 x 5 Model No. 31AE600E MTD-734-1714

...
xx
WHEEL ASSEMBLY 13 x 5 Model No. 31AE610E MTD-734-1714

...
xx
WHEEL ASSEMBLY 16X4.8 Model No. 31AE640F MTD-734-1709

...
xx
WHEEL ASSEMBLY 16 x 6.5 Model No. 31AE660G MTD-734-1712

...
2
TIRE ONLY MTD-NA

...
xx
TIRE-SNOW HOG 13X5 TIRE-CODE Model No. 31AE600E MTD-734-1527

...
xx
TIRE-SNOW HOG 13X5 TIRE-CODE Model No. 31AE610E MTD-734-1527

...
xx
16.5 x 4.8 Model No. 31AE640F MTD-734-1530

...
xx
16 x 6.5 Model No. 31AE660G MTD-734-1525

...
3
TUBELESS VALVE MTD-934-0255

...
4
RIM ONLY MTD-NA

...
xx
RIM ASSEMBLY 6.0 x 3.25 Model No. 31AE600E MTD-734-1713

...
xx
RIM ASSEMBLY 6.0 x 3.25 Model No. 31AE610E MTD-734-1713

...
xx
RIM ASSEMBLY Model No. 31AE640F MTD-734-1708

...
xx
WHEEL RIM 8.0 x 5.38 x 7.30 Model No. 31AE660G MTD-734-1711

...
5
Sleeve Bearing .752" I.D. MTD-941-0401

The Ryobi 31AE660F013 2002 Snow Thrower is a robust machine capable of easily handling heavy snow removal. PartsWarehouse offers genuine OEM parts to ensure your Ryobi snow thrower performs reliably in all winter conditions.

Why Choose Us for Ryobi 31AE660F013 2002 Snow Thrower Parts?

At PartsWarehouse, we offer authentic parts for your Ryobi snow thrower, providing quick shipping and expert assistance to keep your machine running smoothly.

 

...
...
...
...
...
Processing