Welcome,
My Cart
0 item(s)

Models

Parts


product name

Ryobi 31AE162-034 (2003) Snow Thrower

Model: 31AE162-034 (2003)

Save
Part Not Listed?Part Not Listed?

product name

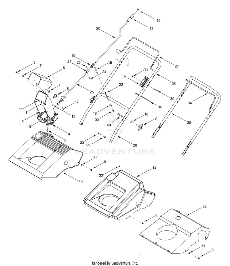
Chute, Crank, Dash

...
...
1
Splined Carriage Screw, 5/16-18 x 1.0 MTD-710-04071

...
2
Hex Cap Screw, 1/4-20 x.75 MTD-710-3015

...
3
Hex L-Nut 5/16-18 Thd. MTD-712-3009

...
4
Chute Flange Keeper MTD-731-0851A

...
5
LOWER CHUTE MTD-731-0915C

...
6
UPPER CHUTE (W/LBL MANUAL TILT) MTD-731-04426C

...
7
Washer, .349 x .879 x .063 MTD-736-0159

...
8
Wingnut Knob, 5/16-18 MTD-720-0284

...
9
Screw, #10-16 x .375 MTD-710-1268

...
10
LOCK NUT 1/4 MTD-912-3027

...
11
Carriage Bolt, 5/16-18 x .75 MTD-710-0451

...
12
Push Cap, 3/8 MTD-726-0100

...
13
Knob, 1.0 x 3.2 MTD-720-0201A

...
14
SHROUD - BLACK MTD-731-1765

...
15
Rubber Grommet, .44 x .94 x .50 MTD-735-0234

...
16
Flat Washer, .375 x .738 x .063 MTD-736-0185

...
17
Internal Cotter Pin, .072 x 1.12 MTD-714-0104

...
18
Saddle Washer, .320 x .93 MTD-736-0451

...
19

...
20
Upper Chute Crank MTD-747-0737-0637

...
21
SPACER-.38IDX.500 x 2.50LG MTD-950-0785

...
22
HEX NUT 5/16-18 MTD-712-3010

...
23
Cotter Pin, 3/32 x .75 MTD-714-0507

...
24
Rolled Pin, 1/8 x .63 MTD-915-0138

...
25
LOWER CHUTE CRANK (POWDER BLACK) MTD-684-0126-0637

...
26
UPPER HANDLE MTD-749-0705

...
27
AUGER BAIL MTD-747-0946

...
28
LOWER HANDLE MTD-749-0796B

...
29
Lock Wash. 5/16" I.D. MTD-936-0119

...
30

...
31
Flat Washer, .194 x .62 x .063 MTD-736-0400

...
32

...
33
Special Screw, #10-16 x .625 MTD-710-04669

...
34
Auger Bail (Control Handle), Gullwing-style MTD-747-0956

...
35
UPPER HANDLE MTD-749-0711A

...
xx
Foam Grip, 22" (Not included with handle) MTD-720-0295

...
36
Cable Tie MTD-725-0157

...
37
Control (Cable) Housing MTD-746-0883

...
38
Nylon Hex Lock Nut, 1/4-20 MTD-712-0324

...
39
SCREW 1/4-20 x 1.310 MTD-710-1270

...
40
Carriage Screw 5/16-18 MTD-710-0487

General Assembly

...
...
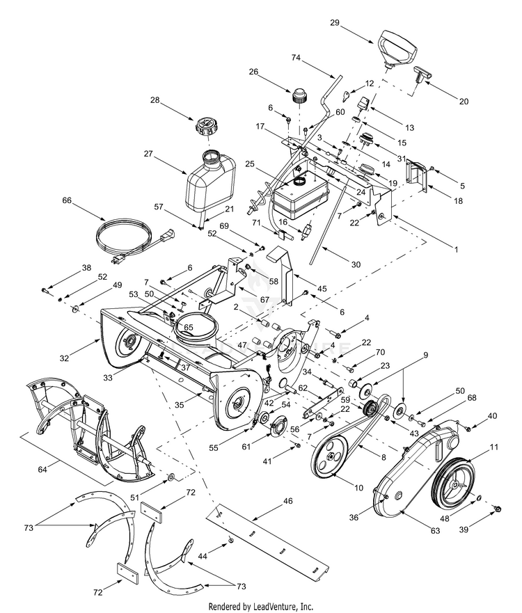
1
DASH PANEL 21" SNT (Includes Plastic Cup for Mitten Grip) MTD-684-0054A

...
2
Spacer.325" I.D. Model 140 MTD-950-0589

...
3
Special Screw, #10-16 x .625 MTD-710-04669

...
4
Hex Flange Screw, 5/16-18 x 1.25 MTD-710-1090

...
5
Screw, #10-16 x .375 MTD-710-1268

...
6
Self-tapping Screw, 1/4-20 x .625 MTD-710-1652

...
7
HEX NUT 5/16-18 MTD-712-3010

...
8
V-Belt 1/2 x 35.0" Lg. Model 150, E150, E162, E172 MTD-954-0101A

...
xx
Wheel Drive Belt Model 140 MTD-954-0367

...
9
Pulley Half, .625 x 2.25 MTD-956-0416B

...
10
Auger Drive Pulley MTD-756-0475

...
xx
PULLEY-6.0 OD x 3/8 Model 140 Series Only MTD-756-0550

...
11
WHEEL ASSEMBLY W/TIRE MTD-734-1176


...
13
Ignition Key w/ Plastic Cover MTD-725-1341B

...
14
IGNITION SWITCH NUT Model E162, E172 MTD-925-1346

...
xx
Jam Nut, 5/8-32-Model 140, 150, E150 Model 140, 150, E150 MTD-712-0252

...
15
Ignition Switch Cap MTD-725-1347

...
16
Ignition Switch MTD-925-1425

...
17
CHUTE CRANK BRACKET Model 140 MTD-784-5178A

...
18
COVER-CHOK MTD-731-1089A

...
19
SPARK PLUG CAP MTD-731-1133C

...
20
HANDLE-RECOIL MTD-7510009630

...
21
Fuel Line Hose MTD-751-0535

...
22
Lock Wash. 5/16" I.D. MTD-936-0119

...
23

...
24
Internal Lock Washer, 5/8 x 1.058 x .046 MTD-736-0225

...
25
FUEL TANK Model 140 MTD-TC-32660A

...
26
FUEL CAP For 751-0352 MTD-TC-410240

...
27
FUEL TANK 2 QT. Model 150, E150, E162, E172 MTD-751-0540A

...
28
TANK CAP For 751-0540A (50:1 Red Print) MTD-751-0603B

...
29
HANDLE-MITTEN GRIP MTD-7510009636

...
30
LINE-PRIMER MTD-TC-32180C

...
31

...
32
21" HOUSING MTD-684-0114B

...
33
CARRIAGE BOLT 1/4-20X.50" MTD-710-05177

...
34
Cap Screw, 3/8-24 x 1.25 MTD-710-0191

...
35
Trus Machine Screw, 5/16-18 x .75 MTD-710-0323

...
36
Hex Index Washer Screw, 1/4-14 x .375 MTD-710-0352

...
37
Carriage Bolt, 5/16-18 x .75 MTD-710-0451

...
38
Self-tapping Screw 1/4-20 x .75 MTD-710-0642

...
39
Self-tapping Screw 3/8-16 x .50 MTD-710-0773

...
40
Self-tapping Screw, 1/4-14 x .625 MTD-710-0896

...
41
Hex Tap Scr. 1/4-20 x .5" Lg. MTD-710-0599

...
42
Axle, .35 x .5 x 20.75 MTD-710-0848A

...
43
Jam Lock Nut, 3/8-24 MTD-712-0116

...
44
LOCK NUT 1/4 MTD-912-3027

...
45
BRACKET-EN Model 140 MTD-784-5177

...
46
Shave Plate, 2.66 x 19.88 MTD-731-1033

...
47
Extension Spring, .33 x 1.12 MTD-732-0357A

...
48
Flat Washer, .51 x .75 x .033 MTD-736-0108

...
49
Flat Washer, .265 x .938 x .120 MTD-736-0176

...
50
Belleville Washer, .340 x .872 MTD-736-0242

...
51
Flat Washer, .51 x 1.0 x .125 MTD-736-0326

...
52
L-Wash. 1/4" I.D. MTD-936-0329

...
53
BUSHING .380 ID MTD-941-0475

...
54
BALL BEARING MTD-941-0600

...
55
Cable, 41.78" (Includes end spring) MTD-946-0910A

...
56
Shoulder Spacer MTD-748-0234

...
57
Hose Clamp, .49 MTD-726-0205

...
58
BUSHING .380 ID MTD-941-0475

...
59
Flat Idler Pulley, 1.88 x .50 x 2.12 MTD-756-0313

...
60
Hi-Lo Self-tapping Screw, 1/4-15 x .75 MTD-710-0895

...
61
BEARING CUP (POWDER BLACK) MTD-784-5174-0637

...
62
KIT-IDLER/BRAKE BRACKET MTD-753-05156

...
63
BELT COVER SINGLE (POWDER BLACK) MTD-790-00045C-0637

...
64
AUGER ASSEMBLY MTD-984-04027A

...
65
CRANK BRACKET MTD-784-5720-0637

...
66
2 PRONG EXTENSION CORD MTD-629-0236

...
67
FUEL TANK BRACKET Model 150, E150, E162 & E172 MTD-705-5139A-0637

...
68
Hex Cap Screw, 5/16-24 x .75 MTD-710-0157

...
69
Hex Cap Screw, 1/4-20 x .50 MTD-710-3013

...
70
Hex Cap Screw, 5/16-24 x .625-Model 150, E150, E162, E172 Model 150, E150, E162, E172 MTD-710-3025

...
xx
SCREW 5/16-18 x 1.5 LG Model 140 MTD-710-0805A

...
71
CLAMP-MTG (For starter cable) MTD-726-0152

...
72
Rubber Paddle MTD-931-0782A

...
73
Rubber Spiral - L.H. MTD-931-0780A

...
74
CHUTE CRANK ASSEMBLY Model 140 MTD-784-5344

The Ryobi 31AE162-034 2003 Snow Thrower offers reliable snow-clearing capabilities with a robust design and efficient operation. PartsWarehouse provides authentic OEM parts to ensure your Ryobi snow thrower operates best during winter.

Why Choose Us for Ryobi 31AE162-034 2003 Snow Thrower Parts?

PartsWarehouse offers high-quality, original parts for your Ryobi snow thrower, with fast shipping and expert support to help you maintain your machine’s performance and longevity.

 

...
...
...
...
...
Processing