Welcome,
My Cart
0 item(s)

Models

Parts


product name

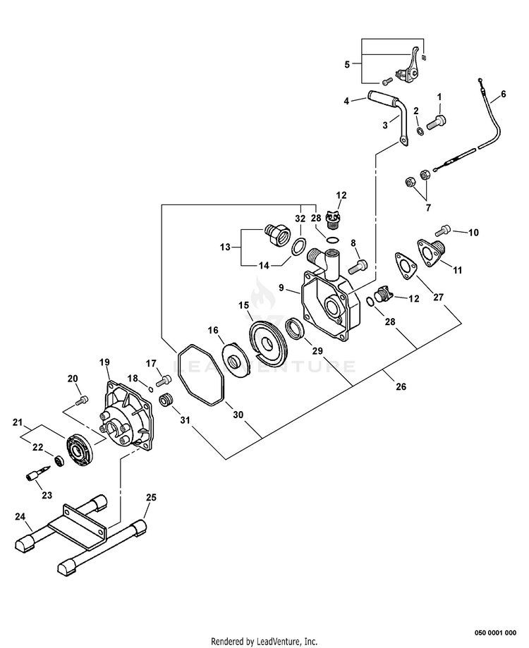
Echo WP-1000 Type 1 Water Pump

Model: WP-1000 Type 1

Back To Assemblies

Save
Part Not Listed?Part Not Listed?
product name

Pump

...
...
1
BOLT - 8x35 - TAPPING ECH-90015508035



...
4
GRIP, REAR HANDLE ECH-35101212620

...
5
CONTROL, THROTTLE ECH-17800012020

...
6
CABLE, THROTTLE ECH-17800112620


...
8
BOLT - 8x25 - TAPPING ECH-90015508025

...
9
CASE, PUMP ECH-40021312620

...
10
BOLT - 6x20 ECH-90011706020

...
11
CASE, CHECK VALVE ECH-200500130


...
13
NIPPLE - 1x3/4" Includes ITEM 14 ECH-38200512621

...

...

...
16

...
17

...

...
19
CASE, PUMP ECH-253004

...
20

...
21
PUMP ADAPTOR ASSY Includes ITEM 22 ECH-10020912620

...
22
BEARING, BALL 6201 ECH-90081436201

...
23
SHAFT, PUMP ECH-40011212620

...
24
FRAME, PUMP ECH-40391012620

...
25

...
26
PUMP REBUILD KIT INCLUDES ITEMS 27-32 ECH-88900112620

...
27
VALVE, CHECK ECH-42965012620

...
28
O-RING P-24 ECH-90072000024

...
29
GASKET, PUMP ECH-40021212620

...

...
31
SEAL, MECHANICAL ECH-40010012620

...
...
...
...
...
...
Processing