Welcome,
My Cart
0 item(s)

Models

Parts


product name

Echo PAS-225 S/N: S86813001001 - S86813999999 Pro Attachment Series

Model: PAS-225 S/N: S86813001001 - S86813999999

Back To Assemblies

Save
Part Not Listed?Part Not Listed?
product name

Exhaust

...
...
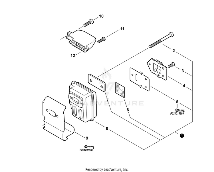
1
MUFFLER ASSY Includes Items 2-8 ECH-P021036112

...
2
BOLT, TORX 5x55 ECH-V805000190

...
3
BOLT, TORX 4x8 ECH-V804000030

...
4
GUIDE, EXHAUST ECH-A313000600

...
5
GASKET, EXHAUST See RePower Maintenance Kits ECH-V104001761

...
6
SCREEN, SPARK ARRESTER ECH-14586240630

...
7
PLATE, EYE ECH-V150000371

...
8
MUFFLER See RePower Maintenance Kits ECH-A300000811

...
9
HEAT SHIELD, EXHAUST No Longer Required ECH-V104000850

...
10
BOLT, TORX 5x16 ECH-V805000150

...
11
BOLT, TORX 5x16 ECH-V805000000

...
12
COVER, MUFFLER ECH-A320000481
...
...
...
...
...
Processing