Welcome,
My Cart
0 item(s)

Models

Parts


product name

Echo CSG-680 S/N: 03001001 - 03999999 Cut Off Saw

Model: CSG-680 S/N: 03001001 - 03999999

Back To Assemblies

Save
Part Not Listed?Part Not Listed?
product name

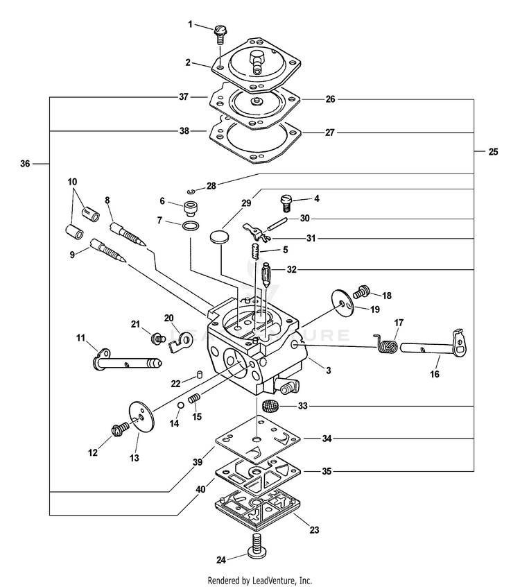
Carburetor -- HDA-216

...
...
xx
CARBURETOR - HDA-216 ECH-A021000730


...
2
COVER, METERING DIAPHRAGM ECH-P003000000

...
3
BODY, CARBURETOR NOT AVAILABLE SEPARATELY ECH---

...
4
SCREW, METERING LEVER PIN ECH-12313903930

...
5
SPRING, METERING LEVER ECH-12312239830



...
8
NEEDLE, MIXTURE ECH-12311802261

...
9
NEEDLE, HIGH SPEED ECH-12312032631

...
10
CAP, LIMITER ECH-P003000010

...
11
LEVER, CHOKE ECH-P003000590


...
13
VALVE, CHOKE ECH-12313232430

...
14
BALL, CHOKE FRICTION ECH-12313610630

...

...
16
SHAFT, THROTTLE ECH-12311732630

...
17
SPRING, THROTTLE RETURN ECH-12311316130


...
19
VALVE, THROTTLE ECH-12313216130

...
20
STOP, THROTTLE ECH-12315630830


...
22
PLUG, FRICTION ECH-12317815030

...
23
COVER, FUEL PUMP ECH-12312419830


...
25
REPAIR KIT INCLUDES ITEMS 26-35 ECH-P033000000

...
26
DIAPHRAGM, METERING ECH---

...
27
GASKET, DIAPHRAGM ECH---

...
28
RING, RETAINING ECH---

...
29
PLUG, WELCH ECH---

...
30
PIN, METERING LEVER ECH---

...
31
LEVER, METERING ECH---

...
32
VALVE, INLET NEEDLE ECH---

...
33
STRAINER ECH---

...
34
DIAPHRAGM, PUMP ECH---

...
35
GASKET, PUMP ECH---

...
36
GASKET / DIAPHRAGM KIT INCLUDES ITEMS 37-40 ECH-P003001150

...
37
DIAPHRAGM, METERING ECH---

...
38
GASKET, DIAPHRAGM ECH---

...
39
DIAPHRAGM, PUMP ECH---

...
40
GASKET, PUMP ECH---
...
...
...
...
...
Processing