Welcome,
My Cart
0 item(s)

Models

Parts


Gear Case

...
...
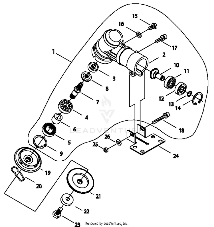
1
GEAR CASE ASSY 72540-63020 ECH-C051000553

...
2
HOUSING, GEAR CASE 63020-63111 ECH-C531000603

...
3
BEARING, BALL 6000DDU 02006-06000 ECH-90080206000

...
4
BEARING, BALL 6202 02000-06202 ECH-90081006202

...
5
SEAL, OIL 72447-13121 ECH-V513000000

...
6
COLLAR 22015-13230 ECH-V358000130

...
7
GEAR SHAFT SET 22015-13210 ECH-P021039360

...
8
GEAR, BEVEL 22015-13220 ECH-V651000540

...
9
RING, SNAP 35 02432-35150 ECH-90070200035

...
10
GEAR, PINION 22015-13390 ECH-V651000520

...
11
BEARING, BALL 6001 02000-06001 ECH-90080036001

...
12
BEARING, BALL 6001ZZ 02002-06001 ECH-90080406001

...
13
RING, SNAP 12 20000-31140 ECH-90070600012

...
14
RING, SNAP 28 02432-28120 ECH-90070200028

...
15
BOLT M6x10 22015-13410 ECH-V206000250

...
16
WASHER 22015-13420 ECH-V307000230

...
17
BOLT M6x14 11022-06140 ECH-V204000740

...
18
BOLT M6x40 11022-06400 ECH-V204000450

...
19
PLATE, ADAPTOR - UPPER 72447-13240 ECH-C535000770

...
20
PIN, SLIDE 22015-13290 ECH-V641000240

...
21
PLATE, ADAPTOR - LOWER 72017-63170 ECH-C535000781

...
22
GUARD, BOLT 22015-13270 ECH-C535000790

...
23
BOLT 10x30 22015-13261 ECH-V206000220

...
24
CLAMP, LOWER 72017-16130 ECH-C551000110

...
25
NUT, HEX M6 01500-06051 ECH-90050000006

...
26
WASHER 01613-06100 ECH-90063000006
...
...
...
...
...
Processing