Welcome,
My Cart
0 item(s)

Models

Parts


Crankcase / Engine Cover / Fan Cover

...
...
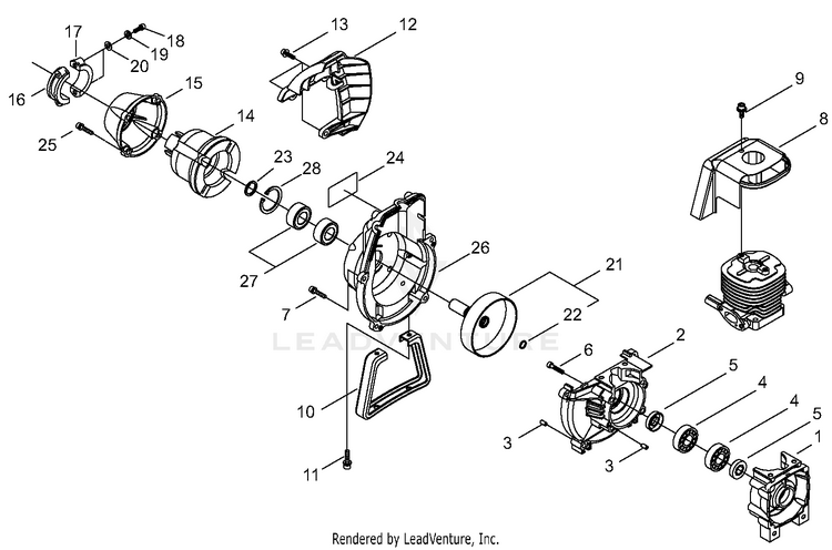
1
CRANKCASE - REAR 70012-21310; TBA ECH---

...
2
CRANKCASE 70012-21121 ECH-A120001051

...
3
PIN, LOCATING 5x10 12492-50100 ECH-10021502830

...
4
BEARING, BALL 6202 C3 12900-62020 ECH-V592000290

...
5
SEAL, OIL 16 20010-21211 ECH-V508000050

...
6
BOLT 5x30 01020-05300 ECH-90010505030

...
7
BOLT 5x20 11022-05200 ECH-V203000351

...
8
COVER, ENGINE 70012-32110 ECH-A160001720

...
9
BOLT 5x14 11024-05140 ECH-V203001140

...
10
STAND 70200-33112 ECH-A175000180

...
11
BOLT 5x16 11022-05160 ECH-V203000591

...
12
GUARD, TOP 20011-34100 ECH-A162000180

...
13
BOLT M4x16 11024-04160 ECH-9111304016

...
14
CUSHION, AV 20011-35110 ECH-A575000400

...
15
CAP, CUSHION 70012-35130 ECH-A575000410

...
16
CLAMP - A 20011-35141 ECH-A575000420

...
17
CLAMP - B 20011-35151 ECH-A575000430

...
18
BOLT 5x25 01020-05250 ECH-90010505025

...
19
WASHER, SPRING 5 01600-05131 ECH-90060500005

...
20
WASHER, FLAT 5.5x10x0.8 01610-05080 ECH-90060000005

...
21
DRUM, CLUTCH - C35,C350,T350 20011-31200 ECH-A556001640

...
22
RING, RETAINING 20011-31220 ECH-V582000080

...
23
RING, SNAP 20011-31230 ECH-V583000181

...
24
LABEL, TRADE 70012-31152 ECH-X562001410

...
25
BOLT 5x20 11022-05200 ECH-V203000351

...
26
COVER, FAN 70012-31111 ECH-A172002310

...
27
BEARING, BALL 6002 DDU 02006-06002 ECH-90080206002

...
28
RING, SNAP 32 02432-32120 ECH-90070200032
...
...
...
...
...
Processing