Welcome,
My Cart
0 item(s)

Models

Parts


product name

Craftsman 24AD595D099 (247.794520) (1998) log Splitter

Model: 24AD595D099 (247.794520) (1998)

Save
Part Not Listed?Part Not Listed?

product name

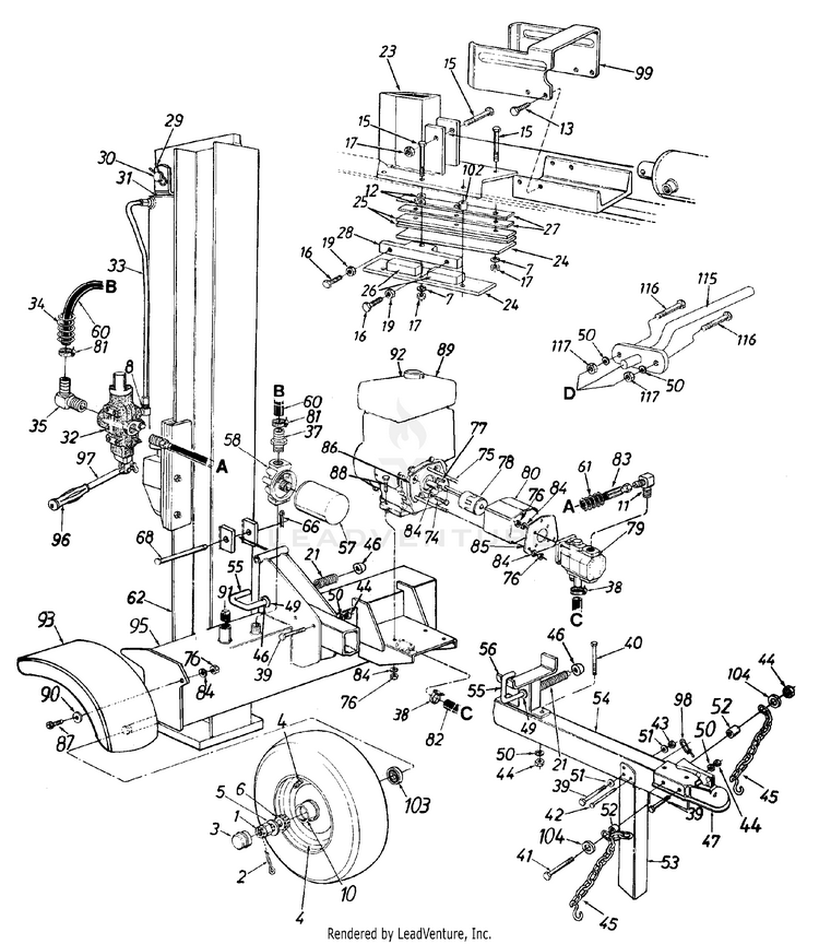
General Assembly

...
...
1
Slotted Nut 3/4-16 Thd. MTD-712-0359

...
2
Cotter Pin 5/32" Dia. MTD-714-0162

...
3

...
4
Wheel Assembly MTD-634-0186

...
4
Tire Only Not shown MTD-734-0872

...
4
RIM ASSEMBLY (3.75 x 8.0) (GRAY) Not shown MTD-634-0188

...
4
TUBELESS VALVE Not shown MTD-934-0255

...
5
Fl-Wash. .76" I.D. x 1.5" O.D. MTD-736-0351

...
6
Cone Bearing MTD-941-04298

...
7
L-Wash. 1/2" I.D. MTD-736-0921

...
8
90 degree Solid Male Adapter MTD-737-0192

...
10
Bearing Cup MTD-941-04299

...
11
90 MALE ADAPTER MTD-737-0264

...
12
Fl-Wash. .531" I.D. x .94" O.D. MTD-736-0192

...
13
Hex Cap Scr. 3/8-16 x 1" Lg. MTD-710-0514

...
15
Hex Bolt 1/2-20 x 2.75" Lg. MTD-710-1018

...
16
Hex Cap Screw 3/8-24 x 1.5 MTD-710-0459A

...
17
Hex L-Nut 1/2-20 Thd. MTD-712-0239

...
19
Hex Jam Nut, 3/8-24 MTD-912-3001

...
21
Comp. Spring 4" Lg. MTD-732-0583

...
23
Wedge Assembly MTD-753-04120

...
24
Back Plate MTD-781-0537

...
25
Fixed Side Gib MTD-781-0350A

...
26
Adjustable Gib MTD-781-0351

...
27
ADJUSTABLE GUB SHIM MTD-781-0352A-0637

...
28
Floating Gib Plate MTD-781-0356

...
29
Cotter Pin MTD-714-0211

...
30
Clevis Pin MTD-711-1135

...
31
LOGSPLITTER CYLINDER 5 x 24 replace with 718-0313A MTD-918-0313A

...
31
Kit Seal 5.0" for Fisher Hydraulics cylinder 718-0313 Fisher cylinders use a snap ring retainer system to secure the piston assembly into the cylinder. MTD-753-0564

...
31
KIT-SEAL L BEST cylinders will have "BM" or "BEST" cast into the end cap. MTD-753-0691

...
31
LOGSPLITTER CYLINDER 5 x 24 replaces 718-0313 MTD-918-0313A

...
31
SEAL KIT 5.0" XINGHUI See Service Kit 753-05609 MTD-953-05609

...
31
SEAL KIT 5.0" ENERGY See Service Kit 753-05610 MTD-953-05610

...
32
Control Valve MTD-918-0481A

...
33
HYDRAULIC TUBE MTD-727-0471

...
34
Hose Guard, 44" MTD-781-0526A

...
35
Return Elbow MTD-737-0153

...
37
HOSE BARB-3/4 IN MTD-737-0235

...
38
Hose Clamp 1.5" O.D. MTD-726-0174

...
39
Hex Bolt 3/8-16 x 3" Lg. (Grade 8) MTD-710-0521

...
40
Hex Bolt 3/8-16 x 4" Lg. MTD-710-0411

...
41
Hex Bolt 3/8-16 x 4.25" Lg. MTD-710-0944

...
42
CLEVIS PIN 5/16 x 2.5 MTD-911-0813

...
43
Hex L-Nut 3/8-16 Thd. MTD-712-0375

...
44
Hex Nut 3/8-16 Thd. MTD-712-0798

...
45
LOGSPLITTER TOW CHAIN MTD-713-0433A

...
46
Push Cap MTD-726-0214

...
47
COUPLER-HITCH 1-7 MTD-727-0311

...
49
Fl-Wash. .635" I.D. x .93" O.D. MTD-736-0116

...
50
L-Wash. 3/8" I.D. MTD-736-0169

...
51
Fl-Wash. .406" I.D. x .75" O.D. MTD-736-0185

...
52
Spacer .445" Lg. MTD-750-0497

...
53
JACK STAND MTD-781-0162


...
55
Locking Rod MTD-781-0690

...
56
Beam Support Ass'y. MTD-781-0398

...
57
FILTER ELEMENT (10 MICRON LFP-1652) MTD-723P0405

...
58
FILTER HOUSING MTD-681-0179

...
60
Return Hose 3/4" I.D. x 44" Lg. MTD-727-0443

...
61
Hose Guard, 48" MTD-781-0538A

...
62
LOGSPLITTER BEAM ASSEMBLY MTD-981-04080

...
66
Cotter Pin 1/8" Dia. MTD-714-0470

...
68
HINGE PIN MTD-738-0805

...
74
Hex Bolt 5/16-24 x .62" Lg. MTD-710-0237

...
75
HEX SCREW 5/16-24X5.25LG MTD-710-1253

...
76
Hex Nut 5/16-24 Thd. MTD-912-3057

...
77
COTTER PIN MTD-714-0144

...
78
COUPLING-FLEX MTD-717-0462

...
79
KIT:LOGSPLITTER PU MTD-753-05195

...
80
SHIELD COUPLING MTD-719-0315

...
81
Hose Clamp 5/8" MTD-726-0132

...
82
Suction Hose 1" I.D. MTD-727-0451

...
83
High Pressure Hydraulic Hose 48" MTD-727-0502

...
84
Lock Wash. 5/16" I.D. MTD-936-0119

...
85
Rear Coupling Support Bracket MTD-781-0097-0637

...
86
Front Coupling Support Bracket MTD-781-0098A-0637

...
87
Hex Bolt 5/16-24 x .75" Lg. MTD-710-0157

...
88
Hex Bolt 5/16-24 x 1.75" Lg. MTD-710-0409

...
89
Engine Shown for reference MTD-NA

...
90
Fl-Wash. .344" I.D. x .875" O.D. MTD-736-0159

...
91
Vented Dipstick MTD-737-0348A

...
92
INSULATOR-SPARK PLUG MTD-735-0639

...
93
LOGSPLITTER FENDER MTD-781-04000

...
95
FRAME WELDMENT MTD-681-0103A


...
97
Control Handle MTD-947-0583

...
98
Spring Pin MTD-732-0194

...
99
Dislodger MTD-781-0525

...
102

...
103
Dust Seal MTD-921-0168

...
104
Fl-Wash. 3/8" I.D. x .87" O.D. MTD-736-0262

...
115
GUARD ENGINE MTD-681-0089

...
116
Hex Bolt 3/8 - 16 x 1" Thd. MTD-710-0514

...
117
HEX NUT 3/8-16 GR5 MTD-712-3017

Service Kit 753-05609

...
...
1
Piston Seal: 2 piece set (White outer ring w/ black flat under ring) Not Available Separately MTD-NA

...
2
O-ring (Large, Black) Not Available Separately MTD-NA

...
3
Backup Ring (Black) Not Available Separately MTD-NA

...
4
Rod-Guide U-Cup (Dark Blue) Not Available Separately MTD-NA

...
5
Scraper: Rod (Black) Not Available Separately MTD-NA

...
6
O-ring (Small, Black) NOT USED Not Available Separately MTD-NA

...
7
INSTRUCTION SHEET Not Available Separately MTD-NA

Service Kit 753-05610

...
...
1
Zurcon U-Cup RU3 (Blue) Not Available Separately MTD-NA

...
2
Scraper DA17 (Black) Not Available Separately MTD-NA

...
3
Retaining-Ring (Metal) Not Available Separately MTD-NA

...
4
Zurcon Wynseal (Blue) Not Available Separately MTD-NA

...
5
O-Ring (Black) Not Available Separately MTD-NA

...
6
Back-up Ring (White) Not Available Separately MTD-NA

...
7
INSTRUCTION SHEET Not Available Separately MTD-NA
...
...
...
...
...
Processing