Welcome,
My Cart
0 item(s)

Models

Parts


product name

Craftsman 21AB454E299 (247.29933) (2010) Tiller

Model: 21AB454E299 (247.29933) (2010)

Save
Part Not Listed?Part Not Listed?

product name

.Quick Reference

...
...
xx
Spark Plug MTD-759-3336

...
xx
AIR FILTER MTD-BS-491588S

...
xx
Air Filter MTD-BS-493537S

...
xx
Fuel Filter MTD-951-3013

...
xx

...
xx
Drive Belt MTD-954-0434

...
xx
Idler Pulley MTD-756-0405

...
xx
CLUTCH CABLE MTD-946-1117


...
xx
Tine Adaptor MTD-784-0160-0637

...
xx
Complete Wheel, 16 x 4.6 x 8 MTD-934-04654

...
xx
Foam Grip MTD-720-0278A

...
xx
Handle Knob MTD-720-0210A

Drive Assembly

...
...
1
Belt Cover Bracket Ass'y MTD-686-0111

...
2
Hex Head Screw, 3/8-24 x 1.00 MTD-710-1039

...
3
Hex Head Screw, 5/16-24 x .625 MTD-710-0237

...
4
Hex Head Screw, 1/4-28 x .75 MTD-710-0412

...
5
Screw, 3/8-16 x 1.250 MTD-710-0502A

...
6
Screw, 1/4-20 x 0.500 MTD-710-0599

...
7
Hex Head Screw, 3/8-16 x 1.25 MTD-710-3005

...
8
SCREW 5/16-18 x 1.5 LG MTD-710-0805A

...
9
Jamlock Nut, 3/8-16 MTD-712-0266A

...
10
Articulating Tine MTD-742-0305A-0637

...
11
Hairpin Clip MTD-714-0104

...
12
Washer, Lock, 5/16 MTD-936-0104

...
13
Washer, Lock, 5/16 MTD-936-0119

...
14
Fl-Wash. .27" I.D. x .948" MTD-736-0176

...
15
Tine Adaptor Assembly MTD-784-0160-0637

...
15
Tine Assembly (Includes:712-3054 (x16), 936-0169 (x16), 936-0208 (x8), 936-0253 (x8), 938-0688 (x8), 938-0689 (x8), 742-0305A-0637 (x8) & 784-0160-0637 (x1)) MTD-984-0205A-0637

...
16
Washer, Spring, .317 x .625 x .020 MTD-936-0271

...
17
Washer, Lock, 1/4 MTD-936-0329

...
18
Bell-Wash. .396" I.D. x 1.14" O.D. MTD-736-0452

...
19
SHOULDER NUT MTD-738-0876A

...
20
CLUTCH CABLE MTD-946-1117

...
21
Idler Pulley Rod MTD-747-1159

...
22
Belt, 4L x 58.16 LG MTD-954-0434

...
23
Flat Idler Pulley w/ Flanges, 3.75 O.D. MTD-756-0405

...
24
Engine Pulley, Inner Half MTD-756-0971

...
25
Engine Pulley, Outer Half MTD-756-0972

...
26
Input Pulley, 4L x 8.594 MTD-756-1162

...
27
Idler Pulley Bracket MTD-786-0064A

...
28
Belt Keeper Bracket MTD-786-0185A-0637

...
29
Shaft Cover Bracket MTD-786-0187-0637

...
30
Idler Belt Keeper MTD-786-0193-0637

...
31
Shaft Crank Assembly MTD-686-0109A

...
32
Screw, 1/4-20:0.375 MTD-710-0653

...
33
Screw, 1/4-14:0.625 MTD-710-1017

...
34
Lock Nut ,Cap, 1/4-28 MTD-712-0392

...
35
Spiral Pin MTD-715-0120

...
36
Flat Washer .271" I.D. x .630" O.D. MTD-736-3020

...
37

...
38

...
39
Complete Wheel, 16 x 4.6 x 8 MTD-934-04654

...
40
Hex Head Screw, 1/4-20 x 1.50 MTD-710-0606

...
41
Flangelock Nut, 1/4-20 MTD-712-04064

...
42
Clevis Pin MTD-711-0415

...
43
Cotter Pin, Bow Tie MTD-714-04043

...
44
GEARCASE ASSEMBLY MTD-986-04074G

...
45
Hexlock Nut, 3/8-24 MTD-712-3054

...
46
L-Wash. 3/8" I.D. MTD-736-0169

...
47
Fl-Wash. .51" I.D. x 1.50" MTD-736-0208

...
48
Bell Washer MTD-736-0253

...
49
Screw, Shoulder, 3/8-24 x 1/2 x .325 MTD-938-0688

...
50
Screw, Shoulder, 3/8-24 x 1/2 x .180 MTD-938-0689

...
51
SCREW 5/16-18 x 1.5 LG MTD-710-0805A

...
52
Washer, Bell, .340 x .872 x .060 MTD-736-0242

...
53
HEX NUT 5/16-18 MTD-712-3010

Gearbox

...
...
1
TINE SHAFT ASSEMBLY W/18T MTD-611-0021A

...
2
Shaft Assembly, Jack MTD-611-0128

...
3
Shaft Assembly, Shift Input MTD-611-0129

...
4
Shaft Assembly, Wheel, 33T MTD-611-04074A

...
5
30T REVERSE IDLER GEAR ASSEMBLY MTD-617-0058A

...
6
GEAR ASSEMBLY (FORWARD TINE) MTD-917-0059B

...
7
SPROCKET ASSEMBLY TINE INPUT 9T MTD-617-0060A

...
8
Sprocket Assembly, 10T Wheel Input MTD-617-0061

...
9
11T GEAR ASSEMBLY MTD-617-0062A

...
10
RH Chain Case Housing Assembly MTD-686-0108A-0637

...
11
Hex Head Screw, 5/16-18 x 1.00 MTD-710-0376

...
12
Screw, 1/4-20 x 0.500 MTD-710-0599

...
13
Screw, :5/16-18 x 0.625 MTD-710-0604A

...
14
SCREW 5/16-18 x .75 GR5 MTD-710-3008

...
15
INPUT SHAFT MTD-711-1349B

...
16
Nut, Hex, 7/16-20 MTD-712-0378

...
17
HEX FLANGE NUT MTD-712-3004A

...
18
Endless Chain, #420 x 50 Links MTD-913-0367

...
19
Endless Chain, #50 x 54 Links MTD-913-0484

...
20
Snap Ring, .500 MTD-716-0865

...
21
Clutch Collar MTD-717-0853A

...
22
SPUR GEAR 44T MTD-717-1582B

...
23
Gear Spur, 30T MTD-717-1583

...
24
Gear Spur, 30T MTD-717-1584

...
25
Gear Spur, 44T MTD-717-1585

...
26
Gear Spur, 44T MTD-717-1587

...
27
Gear Spur, 16T MTD-717-1594

...
28
Shaft Seal, 1.0 MTD-921-0378

...
29
Shaft Seal, .75 MTD-721-0379

...
30
GEAR POSITIONER BRACKET MTD-786-0238A

...
31
Tapered Cap Plug MTD-726-0277

...
32
Compression Spring, .230 OD MTD-932-0496

...
33
Washer, Flat, 1.03 x 1.62 x .03 MTD-936-0163

...
34
Washer, Lock, 7/16 MTD-936-0171

...
35
Fl-Wash. .469" I.D. x .88" MTD-736-0226

...
36
Fl-Wash. .76" I.D. x 1.5" O.D. x .030" Thk. MTD-736-0351

...
37
Washer, Bell,.45 x 1.00 x .062 MTD-736-0407

...
38
Washer, Thrust, .445 x 1.92 x .060 MTD-736-0518

...
39
Washer, Flat,1.595 x .635 x .062 MTD-736-3088

...
40
LH Chain Case Housing MTD-686-04129-0637

...
41
Spacer, .75 x 2.0 x .50 MTD-950-0671

...
42
Shaft Detent, .5 DIA MTD-738-0645

...
43
Shaft, Jack, .625 x 2.385 MTD-738-0648

...
44
JACK SHAFT-.625 x 5.00 x 7/16-20 MTD-738-04424A

...
45
Ball Bearing, 17 x 40 x 12:6203 MTD-941-0600

...
46

...
47

...
48
Ball Bearing, 17 x 40 x 12:6203 MTD-941-0563

...
49
DETENT BALL .250 MTD-741-0862

...
50
Spacer, .315 x .750 x .375 LG MTD-750-0258

...
51
Spacer, 1.0 ID x 2.0 OD x.5 LG MTD-950-0570

...
52
Spacer, .505 ID x .88 OD x .440 MTD-750-0664

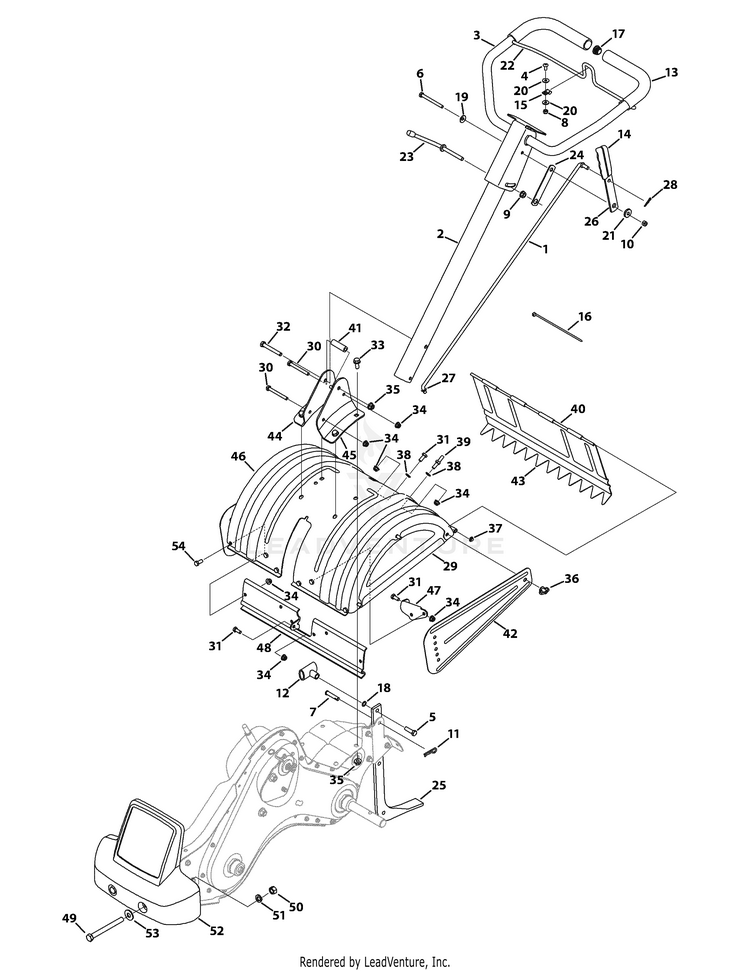
Handle Assembly

...
...
1
Shift Rod MTD-747-1152

...
2
Lower Handle Tube Assembly MTD-649-0034-0691

...
3
UPPER HANDLE ASSEMBLY (BLACK JACK) MTD-649-0041B-0691

...
4
Screw, 1/4-20 x 0.625 MTD-710-0946

...
5
Hex Head Screw, 3/8-16:1.25 MTD-710-3005

...
6
Hex Head Screw, 5/16-18 x 3.25 MTD-710-3056

...
7
Clevis Pin MTD-711-0415

...
8
Hexlock Nut, 1/4-20 MTD-712-0324

...
9
Flangelock Nut, 3/8-24 MTD-712-0379

...
10
Hex L-Nut 5/16-18 Thd. MTD-712-0429

...
11
Cotter Pin, .125 X 1.75 Internal MTD-714-0147

...
12
Small Tee Knob MTD-720-0210A

...
13
Foam Grip, .970 x 11.0 MTD-720-0278A

...
14
Grip, .1875 x 1.00 MTD-720-0313

...
15
Battery Clamp, 5/16 MTD-726-0273

...
16
Cable Tie, 8.5 LG MTD-726-0317

...
17

...
18
Washer, Flat, .385 x .620 x .033 MTD-936-0117

...
19
Washer, Bell, .340 x .872 x .060 MTD-736-0242

...
20
Washer, Flat, .260 x .720 x .060 MTD-736-3090

...
21
Spacer, .50 x .190 x .360 LG MTD-938-0958

...
22
Clutch Bail MTD-747-1219-0637

...
23
Handle Adjustment Crank MTD-784-0190

...
24
Hex Nut Retainer Bracket MTD-784-0191

...
25
Tiller Depth Control MTD-786-0120-0637

...
26
Shaft Rod Lever MTD-786-0181-0691

...
27
Washer, .33 ID x .87 OD x .125 MTD-735-0127

...
28
Hairpin Clip MTD-714-0104

...
29
End Cover Assembly MTD-686-0044B-0691

...
30
Hex Head Screw, 5/16-18 x 2.75 MTD-710-0176

...
31
SCREW 5/16-18 x .75 GR5 MTD-710-3008

...
32
Hex Head Screw, 3/8-16 x 2.75 MTD-710-3022

...
33
Hex Head Flange, 3/8-16 x .875 MTD-710-04482

...
34
Flangelock Nut, 5/16-18 MTD-712-04063

...
35
Flangelock Nut, 3/8-16 MTD-712-04065

...
36
Wing Nut, 5/16-18 W/ Bell Washer MTD-712-0421

...
37
Speed Nut Cap, 1/4 ROD MTD-926-0106

...
38
Washer, Flat, .344 x .62 x .033 MTD-736-0204

...
39
Screw, Hex, 5/16-18 x .75 MTD-938-0849

...
40
Tiller Flap Rod MTD-747-0432

...
41
Spacer, .322 x .625 x 2.00 MTD-750-0885A

...
42

...
43
Rear Tine Shield MTD-786-0113A-0691

...
44
RH Handle Mount Bracket MTD-786-0176-0691

...
45
LH Handle Mount Bracket MTD-786-0177-0691

...
46

...
47
FRT Tine Shield Bracket MTD-786-0179-0637

...
48
FRT Tine Shield Spacer Bracket MTD-786-0180-0637

...
49
Hex Head Screw, 1/2-13 x 5.00 MTD-710-0382

...
50

...
51
L-Wash. 1/2" I.D. MTD-736-0921

...
52
Counterweight MTD-731-1595

...
53
Fl-Wash. 1/2" I.D. x .93" O.D. MTD-736-0179

...
54
Hex Head Screw, 5/16-18 x 1.00 MTD-710-0376

Label Map

...
...
777I23106
LABEL-450 TILLER SHIELD MTD-777I23106

...
777S33508
LABEL--TINESHIELD WRNG MTD-777S33508

...
777D14193
LABEL-TILLER FRONT WGT CRAFTSMAN MTD-777D14193

...
777X43688
LABEL-ETHANOL MTD-777X43688

...
777I20358
LABEL-PLACE HAND HERE MTD-777I20358

...
777I20451
LABEL-GEAR/TRACTION MTD-777I20451

...
777D14192
LABEL-TILLER BELT GUARD CRAFTSMAN MTD-777D14192
...
...
...
...
...
Processing