Welcome,
My Cart
0 item(s)

Models

Parts


product name

Craftsman 21A-34M8799 (247.299341) (2012) Tiller

Model: 21A-34M8799 (247.299341) (2012)

Back To Assemblies

Save
Part Not Listed?Part Not Listed?

product name

170-VU Air Cleaner

...
...
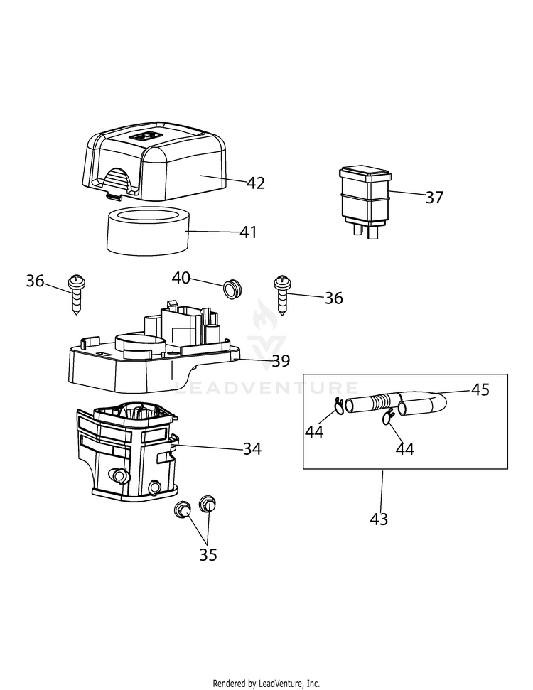
34
Air Cleaner Housing MTD-951-10806


...
36
Self-Tapping Bolt M4.2×16 MTD-951-14068

...
37
Carbon Canister MTD-951-14069

...
39
Silencer Plate MTD-951-14070

...
40
Rubber Shock Pad MTD-750-05314

...
41
Air Filter Assembly MTD-951-10794

...
41
Genuine Factory Parts AIR FILTER Retail Packaged Part MTD-OEM-751-10794

...
42
Air Filter Cover MTD-951-14071

...
43
Primer Hose MTD-951-14072

...

...
45
Exhaust Piping MTD-951-14074
...
...
...
...
...
Processing