Welcome,
My Cart
0 item(s)

Models

Parts


product name

Craftsman 21A-34M8799 (247.299341) (2012) Tiller

Model: 21A-34M8799 (247.299341) (2012)

Back To Assemblies

Save
Part Not Listed?Part Not Listed?

product name

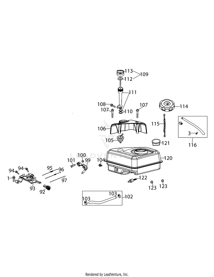
170-VU Fuel Tank & Mounting

...
...
1
Bolt M6×16 MTD-710-04968

...
3
Breather Hose Clamp MTD-726-04101

...
92
Throttle Control Knob MTD-951-11067

...
93
Primer Bracket MTD-951-12131

...
94
Bolt M6×12 MTD-710-05103

...
95
Governor Spring MTD-951-11585

...
96
THROTTLE SPRING MTD-751P10664A

...
97
THROTTLE LINKAGE MTD-751P10665A

...
99
Governor Arm MTD-951-11106

...
100

...
101
Governor Arm Bolt MTD-710-04908

...
102
Fuel Line Kit MTD-951-10650

...
103
CARBURETOR HOSE CLAMP MTD-951-11700A

...
104
Bolt M6×12 MTD-710-04915

...
105
Roll Over Valve MTD-951-14075A

...
106
Dipstick Decoration Cover MTD-951-11914

...

...
108
Bolt M6×12 MTD-710-04915

...
109
Dipstick Assembly MTD-951-12482

...
110
Oil Fill Tube O-Ring MTD-951-11381

...
111
Oil Fill Tube Assembly MTD-951-11913

...
112
Oil Fill Tube O-Ring MTD-951-11904

...
113
Dipstick Guage MTD-951-11912

...
114
Cap Comp,Fuel MTD-951-12535

...
115

...
116
HOSE ASSEMBLY MTD-951-14133

...
120
Fuel Tank Assembly MTD-951-14077

...
121
Fuel Level Indicator MTD-951-11933

...
122
Fuel Tank Nipple MTD-951-10651

...
123
...
...
...
...
...
Processing