Welcome,
My Cart
0 item(s)

Models

Parts


product name

Coast to Coast Mdl 138-342-054/481-2145 Lawn Tractor

Model: Coast To Coast Mdl 138-342-054/481-2145

Back To Assemblies

Save
Part Not Listed?Part Not Listed?

product name

Parts

...
...
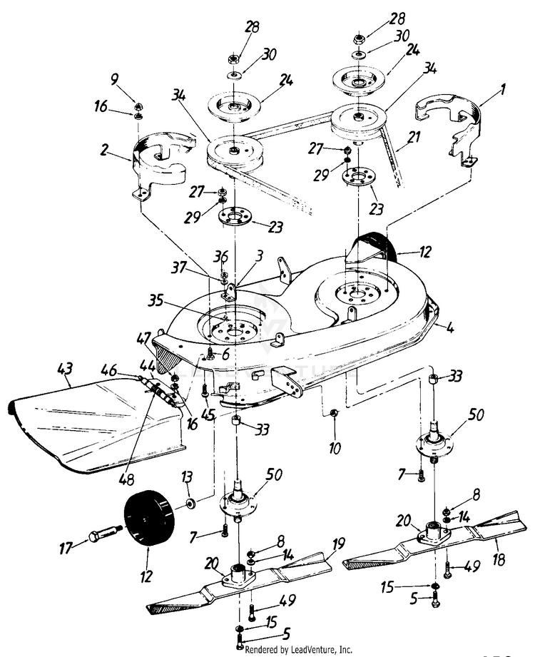
1
BELT GUARD MTD-16607

...
2
BELT GUARD DECK R.H. MTD-16608

...
3
BRACKET-DECK RR (RH) MTD-16666

...
4
32" Deck Ass'y. MTD-17101

...
xx
32" Deck Ass'y. Comp. (Service Only) MTD-17134

...
5
Hex Bolt 3/8-24 x 1" Lg. MTD-710-1039

...
6
Hex Bolt 1/4-28 x 50" Lg. MTD-910-0195

...
7
Rib Neck Bolt MTD-710-1012

...
8
Hex Nut 5/16-24 Thd. MTD-912-3057

...
9
Hex Nut 1/4-28 Thd. MTD-712-0138

...
10
Hex L-Nut 3/8-16 Thd. MTD-712-0181

...
12
DECK WHEEL (5.0 DIA X 1.38) MTD-734-06265

...
13
Bell-Wash. .380" I.D. x .88 MTD-736-0105

...
14
Lock Wash. 5/16" I.D. MTD-936-0119

...
15
L-Wash. 3/8" I.D. H.D. MTD-736-0217

...
16
SPRING WASHER BELL MTD-736-0270

...
17
Shld. Bolt .498" Dia. x 1.53" MTD-938-0373

...
18
L.H HIGH-LIFT BLADE MTD-742-0477

...
19
R.H. HIGH-LIFT BLADE MTD-742-0480

...
20
Blade Adapter MTD-748-0300

...
21

...
23
Plate Deck Reinforcement MTD-09164A-0637

...
24
BRAKE DISC MTD-09322

...
27
Hex Nut 5/16-24 Thd. MTD-912-3057

...
28
HEX JAM NUT 5/8-18 MTD-712-0318

...
29
Lock Wash. 5/16" I.D. MTD-936-0119

...
30
L-Wash. 5/8" I.D. MTD-736-0158

...
33

...
34
5" Dia. Pulley MTD-756-0486

...
35
Hex Scr. 1/4-20 x .62" Lg. MTD-710-0258

...
36
HEX NUT 1/4-20 MTD-912-0287

...
37
L-Wash. 1/4" I.D. MTD-936-0329

...
43
Chute Deflector MTD-753-0567

...
44
BRACKET-CH MTD-17137

...
45
Truss Mach. Scr. 1/4-20 x.75" Lg. MTD-710-0924

...
46
HINGE PIN MTD-711-0808

...
47
Hex Jam Nut 1/4-20 Thd. MTD-912-0298

...
48
TORSION SPRING MTD-732-0542

...
49
Hex Bolt 5/16-24 x 1.0" Lg. (Special) MTD-710-0888

...
50
BLADE SPINDLE ASSEMBLY MTD-917-0900A
...
...
...
...
...
Processing