Welcome,
My Cart
0 item(s)

Models

Parts


product name

Coast to Coast 133I600F054 (481-2277) (1993) Lawn Tractor

Model: 133I600F054 (481-2277) (1993)

Back To Assemblies

Save
Part Not Listed?Part Not Listed?

product name

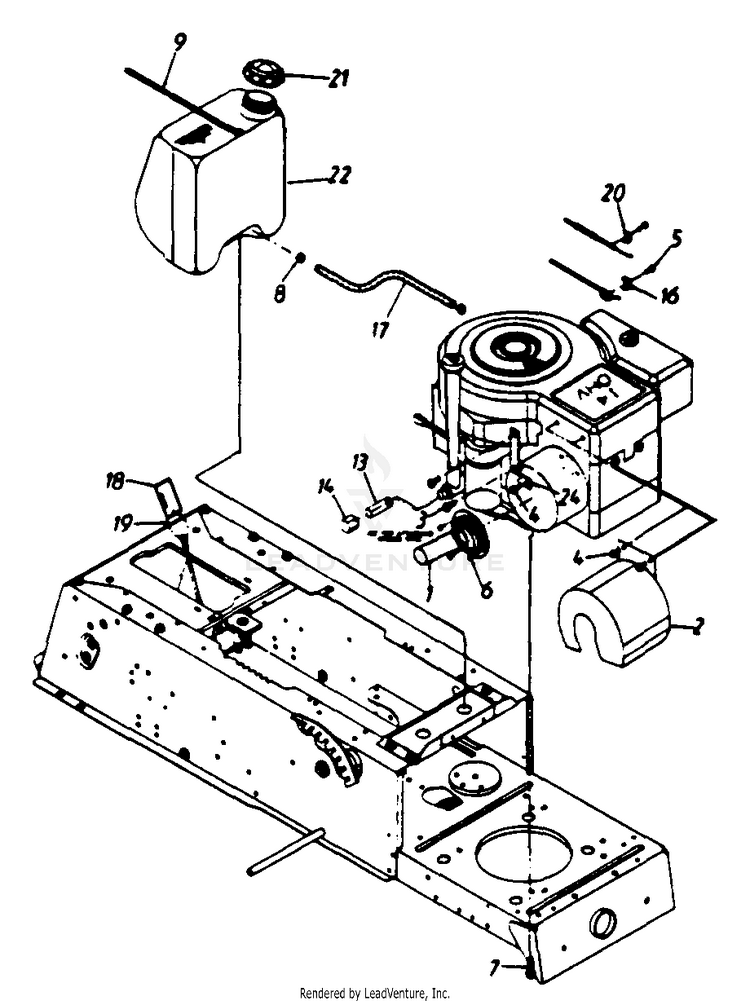
Engine, External

...
...
1
EXHAUST PIPE ASSEMBLY MTD-651-0002

...
2
HEAT SHEID ASSEMBLY MTD-683-0043

...
3
Pan Hd. Mach. Scr. 5/16-18 x .75" MTD-710-0323

...
4
Hex Wash. Hd. Scr. 1/4-20 x .5" MTD-710-0599

...
5
Hex Slot Wash. Hd. #10-32 x 5/8" Lg. MTD-710-1237

...
6
Hex Wash. Hd. F-Tap Scr. #8-32 x .38" MTD-710-0148

...
7
Hex L-Wash. TT-Tap Scr. 3/8-16 x 1.25" MTD-710-0502A

...
8
Hose Clamp -.49" Dia. MTD-726-0205

...
9
Cable Tie MTD-726-0230

...
?10
Cable Tie - 4" I.D. MTD-726-0197

...
?11
Flat Wash. 3/8' I.D. x 1.25" O.D. MTD-736-0247

...
13
PIPE NIPPLE MTD-937-0199

...
14
CAP - OIL DRAIN MTD-737-0143

...
?15

...
16
Casing Clamp MTD-751B221535

...
17
FUEL HOSE 1/4-24" MTD-751-22813-24

...
18
UNKNOWN MTD-NA

...
19
UNKNOWN MTD-NA

...
20
Casing Clamp MTD-751B221535

...
21

...
22
FUEL TANK 1.36 GAL MTD-751-0555D

...
?23
Engine - B&S 287707-0153-01 14 H.P. MTD-NA

...
24
Bracket Heat Shield MTD-783-0106
...
...
...
...
...
Processing