Welcome,
My Cart
0 item(s)

Models

Parts


product name

BlackMax 12AVB2RQ719 (2016) Self-Propelled Walk-Behind Mower

Model: 12AVB2RQ719 (2016)

Back To Assemblies

Save
Part Not Listed?Part Not Listed?

product name

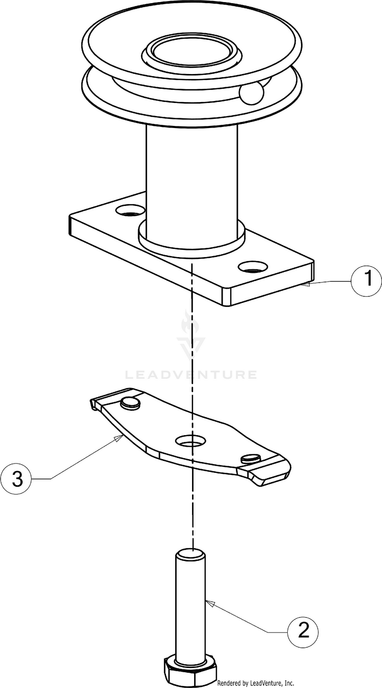
Blade Adapter

...
...
1
BLADE ADAPTER MTD-687-02528

...
2
SCREW 3/8-24 X 1.50 GR8 MTD-710-1044

...
3
BLADE BELL SUPPORT MTD-736-0524B-1
...
...
...
...
...
Processing