Welcome,
My Cart
0 item(s)

Models

Parts


product name

Big O Mdl 698 Lawn Tractor

Model: Big O Mdl 698

Back To Assemblies

Save
Part Not Listed?Part Not Listed?

product name

Parts

...
...
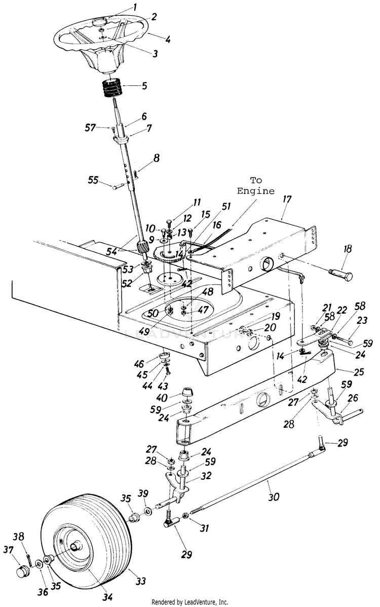
1
Steering Wheel Cap MTD-931-0220

...
2
HEX NUT 5/16-18 MTD-712-3010

...
3
Belleville Wash. .345" I.D. MTD-736-0242

...
4
STEERING WHEEL ASSEMBLY MTD-731-0219

...
xx
STEERING WHEEL MTD-731-0356

...
5
STEERING BELLOW (692 & 698) MTD-731-0559B

...
xx
BELLOW-STEERING (666) MTD-731-0654

...
6
STEERING C MTD-14775

...
7
FLANGE BEARING MTD-741-0356A

...
8
Internal Cotter Pin 1/4" Dia. MTD-714-0147

...
9
Fl-Wash. .438" I.D. x 1.37" O.D. MTD-936-0319

...
10
SHOULDER SCREW .437 DIA x .350 MTD-938-0141

...
11
Hex Bolt 3/8-24 x 1" Lg. MTD-710-1039

...
12
Fl-Wash. .38" I.D. x 1.0" O.D. MTD-936-0206

...
13
Spacer.380" I.D. x .625" O.D. x .227 MTD-950-0535

...
14
Fl-Wash. .56" I.D. x 1.0" O.D. MTD-736-0355

...
15
Hex Wash. Hd. Self-Tap Scr. MTD-710-0726

...
16
DRAG LINK:51 MTD-711-0782

...
17
Front Pivot Brkt. MTD-14619

...
18
Shoulder Bolt .498" Dia. x 2.04 Lg. 3/8-16 Thd. MTD-738-0527

...
19
Hex Nut 3/8-16 Thd. MTD-712-0798

...
20
L-Wash. 3/8" I.D. MTD-736-0169

...
21
Hex Cent. L-Nut 5/16-24 Thd. MTD-712-0237

...
22
STEERING ARM F RONT AXLE MTD-14611

...
23
Hex Bolt 5/16-24 x 2.00" Lg. (Grade 5) MTD-710-0772

...
24
FLANGE BEARING MTD-941-0225

...
25
Pivot Bar Ass'y. MTD-753-0642-0637

...
26
AXLE-FR (LH) MTD-94649

...
xx
KIT-AXLE R Used with 30" Rear Discharge Deck only MTD-15841

...
27
Hex Nut 3/8-24 Thd. MTD-712-0241

...
28
L-Wash. 3/8" I.D. MTD-736-0169

...
29
Ball Joint MTD-923-0156

...
30

...
31
Hex Jam Nut 3/8-24 Thd. MTD-712-0711

...
32
Front Axle Ass'y.-R.H. MTD-14650A

...
xx
FRONT AXLE ASSEMBLY (RH) Used with 30" Rear Discharge Deck only MTD-683-0040

...
33
Wheel Ass'y. Comp. MTD-NA

...
xx
Wheel Ass'y. Comp. MTD-634-0056B-0911

...
xx
Wheel Ass'y. Comp. MTD-634-0056B-0911

...
xx
WHEEL ASS'Y. COMP.-13 x 5.00 MTD-734-0999

...
34
Front Wheel Rim Only MTD-NA

...
xx
WHEEL RIM GREY MTD-753-0838-0662

...
xx
WHEEL RIM GREY MTD-753-0838-0662

...
xx
WHEEL ASSEMBLY MTD-734-0986

...
35
Flange Bearing .632 ID MTD-741-0487C

...
36
Fl-Wash. .635 I.D. x 1.59" O.D. MTD-736-0285

...
37

...
xx
HUB CAP-6IN DIA RI (Not Shown) (Optional) MTD-734-0541

...
38
Cotter Pin 1/8" Dia. x 1.25" Lg. MTD-714-0470

...
39
Fl-Wash. .635" I.D. x 1.20" O.D. MTD-736-0156

...
40
Push Cap 5/8" Dia. Rod MTD-726-0214

...
42
Cotter Pin 1/8" Dia. x 1.0" Lg. MTD-714-0115

...
43
Hex L-Bolt 5/16-18 x .62" MTD-710-0538

...
44
Lock Wash. 5/16" I.D. MTD-936-0119

...
45
Fl-Wash. .344" I.D. x 1.25" O.D. MTD-736-0231

...
46

...
47
Hex Nut 3/8-24 Thd. MTD-712-0241

...
48
L-Wash. 3/8" I.D. MTD-736-0169

...
49
HEX NUT 5/16-18 MTD-712-3010

...
50
Lock Wash. 5/16" I.D. MTD-936-0119

...
51
GEAR-SEGMENT MTD-917-0468

...
52
FLANGE BEARING MTD-941-0225

...
53
Fl-Wash. (Hardened) MTD-736-0187

...
54
STEERING SHAFT-LOWER MTD-738-0522A

...
55
CLEVIS PIN .25 x 1.00 MTD-711-0684

...
57
Oval Hd. Cr.-Sunk Scr. #10 x 518" Lg. MTD-710-0837

...
58
Bell-Wash. MTD-736-0242

...
59
Fl-Wash. (Hardened) MTD-736-0187
...
...
...
...
...
Processing