Welcome,
My Cart
0 item(s)

Models

Parts


product name

Agway by MTD Mdl 130-689G019/822-245 Lawn Tractor

Model: Agway Mdl 130-689G019/822-245

Back To Assemblies

Save
Part Not Listed?Part Not Listed?

product name

Parts03

...
...
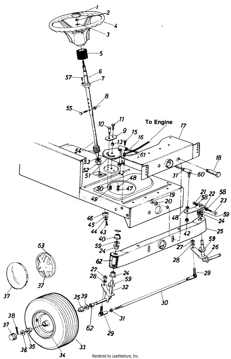
1
Steering Wheel Cap MTD-931-0220

...
2
Hex L-Nut 5/16-24 Thd. MTD-712-0237

...
3
Belleville Wash. .345" I.D. MTD-736-0242

...
4
STEERING WHEEL MTD-731-0806A

...
5
STEERING BELLOW (Style 2, 3, 7 & 8) MTD-731-0559B

...
xx
STEERING BELLOW 9" (Style 0, 4, 9) MTD-931-0954

...
6
STEERING COLUMN ASS Y. MTD-16512

...
7
FLANGE BEARING MTD-741-0356A

...
8
Hex L-Nut 1/4-20 Thd. MTD-712-0324

...
9
STABILIZER PLATE MTD-783P08577A

...
10
SHOULDER SCREW .437 DIA x .350 MTD-938-0141

...
11
Hex Bolt 3/8-24 x 1" Lg. MTD-710-1039

...
13
Spacer.380" I.D. x .625" O.D. x .227 MTD-950-0535

...
14
L-Wash. 3/8" I.D. MTD-736-0169

...
15
Hex Wash. Hd. Self-Tap Scr. MTD-710-0726

...
16
STEERING DRAG LINK MTD-711-0788

...
17
PIVOT BAR BRACKET MTD-783-0041C

...
18
Shoulder Bolt .498" Dia. x 2.04 Lg. 3/8-16 Thd. MTD-738-0527

...
19
Hex Nut 3/8-16 Thd. MTD-712-0798

...
20
L-Wash. 3/8" I.D. MTD-736-0169

...
21
Hex Cent. L-Nut 5/16-24 Thd. MTD-712-0237

...
22
Steering Arm Front Axle MTD-983-0055-0637

...
23
Hex Bolt 5/16-24 x 2.00" Lg. (Grade 5) MTD-710-0772

...
24
FLANGE BEARING MTD-941-0225

...
25
Pivot Bar Ass'y. MTD-753-0642-0637

...
26
Front Axle Ass'y.-L.H. MTD-17585

...
27
Hex Nut 3/8-24 Thd. MTD-712-0241

...
28
L-Wash. 3/8" I.D. MTD-736-0169

...
29
Ball Joint, 3/8-24 MTD-923-3018

...
30

...
31
Hex Jam Nut 3/8-24 Thd. MTD-712-0711

...
32
AXLE ASSEMBLY (RH) MTD-97584A-0637

...
33
Wheel Ass'y. Comp. (If brand of tire is important, order by part number and description) MTD-NA

...
xx
Wheel Ass'y. Comp. (If brand of tire is important, order by part number and description) MTD-634-0056B-0911

...
xx
WHEEL ASS'Y. COMP. MTD-734-1229

...
xx
Tire Only (15 x 6) MTD-734-0864

...
xx
TUBELESS TIRE-13 x 5.0-6 MTD-734-0298-0901

...
34
Front Wheel Rim Only MTD-NA

...
xx
WHEEL RIM GREY MTD-753-0838-0662

...
xx
WHEEL ASSEMBLY W/O TIR MTD-734-1227

...
35
Bearing MTD-NA

...
xx
Flange Bearing .632 ID MTD-741-0487C

...
xx
Flange Bearing .632 ID MTD-741-0487C

...
36
Fl-Wash. .635 I.D. x 1.59" O.D. MTD-736-0285

...
37

...
xx
HUB CAP-6IN DIA RI (Optional) MTD-734-0541

...
xx
FRONT HUB CAP (Optional) MTD-734-1503

...
38
Cotter Pin 1/8" Dia. x 1.25" MTD-714-0470

...
39
Fl-Wash. .640" I.D. x 1.24" O.D. MTD-736-0187

...
40
Push Cap 5/8" Dia. Rod MTD-726-0214

...
42
Hex Jam Nut 3/8-24 Thd. MTD-712-0711

...
43
Hex L-Bolt 5/16-18 x .62" MTD-710-0538

...
44
Lock Wash. 5/16" I.D. MTD-936-0119

...
45
Fl-Wash. .33" I.D. x 1.25" O.D. MTD-736-0343

...
46

...
47
Hex Nut 3/8-24 Thd. MTD-712-0241

...
48
L-Wash. 3/8" I.D. MTD-736-0169

...
49
HEX NUT 5/16-18 MTD-712-3010

...
50
Lock Wash. 5/16" I.D. MTD-936-0119

...
51
Steering Gear Segment MTD-717-0622C

...
52
FLANGE BEARING MTD-941-0225

...
53
Fl-Wash. (Hardened) MTD-736-0187

...
54
STEERING SHAFT-LOWER MTD-738-0522A

...
55
Hex Bolt 1/4-20 x 1.25" Lg. (Special) MTD-710-0106

...
57
Oval Hd. Cr.-Sunk Scr. #10 x 5/8" Lg. MTD-710-0837

...
58
SPRING WASHER .317 X .625 X .020 MTD-936-0271

...
59
Fl-Wash. (Hardened) MTD-736-0187

...
60
Ball Joint, 3/8-24 MTD-923-3018

...
61
Ext. L-Wash. 5/16" I.D. MTD-736-0607

...
62
Plastic Tube MTD-731-1134

...
63
SPRING CLIP MTD-727-0425
...
...
...
...
...
Processing