Welcome,
My Cart
0 item(s)

Models

Parts


product name

Ace by MTD 060-033 (1987) Push Walk-Behind Mower

Model: 060-033 (1987)

Save
Part Not Listed?Part Not Listed?

product name

Parts

...
...
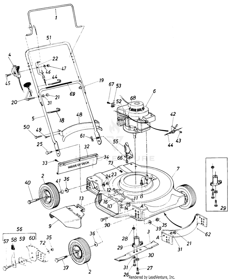
1
HANDLE-CONTROL MTD-747-0500

...
2
7 x 1.5-PLASTIC RIM MTD-734-0840

...
xx
WHEEL ASSEMBLY W/TIRE MTD-734-1176

...
xx
WHEEL ASSEMBLY MTD-734-0841

...
xx
WHEEL ASSEMBLY W/TIRE MTD-734-1177

...
xx
Steel Rim Twinline Tread (7 x 1.5) MTD-734-0639

...
xx
Steel Rim Waffle Tread (7 x 1.5) MTD-734-0637

...
xx
WHEEL ASSEMBLY W/TIRE MTD-734-0643

...
xx
WHEEL ASSEMBLY W/TIRE MTD-734-0645

...
xx
WHEEL ASSEMBLY W/TIRE- MTD-734-0876

...
xx
FRONT WHEEL-WAFFLE TREAD (7 x 1.50) MTD-734-0893

...
xx
WHEEL ASSEMBLY W/TIRE-8 x 1.75 TL MTD-734-0661

...
xx
ASS'Y. COMP. (WAFFLE TREAD) MTD-734-0812

...
3
22" BLADE MTD-942-0125B

...
4
Throttle Control Ass'y. Comp. MTD-946-0645A

...
5
Lower Handle MTD-749-0928A-0637

...
xx
Lower Handle MTD-749-0928A-0637

...
6
Engine MTD-NA

...
7
22" Deck Ass'y (Models 060 & 061) MTD-16527

...
xx
22" Deck Ass'y (Models 062 & 063) MTD-16525

...
8
TT Screw, 3/8-16 x 1.00 MTD-710-0654A

...
9
CHUTE DEFLECTOR MTD-931-1034B

...
10
Hex Bolt 1/4-20 x .50" Lg. MTD-910-0289

...
11
PIVOT PIN MTD-711-0555

...
12
PUSH NUT MTD-726-0106

...
13
TORSION SPRING MTD-732-0253

...
14
HEX NUT 1/4-20 MTD-912-0287

...
15
L-Wash. 1/4" I.D. MTD-936-0329

...
16
ADAPTER PLATE MTD-11130

...
18
Cable Tie MTD-725-0157

...
19
BOLT-CARRIAGE-CURV 5/16-18 x 1.38 MTD-710-0671

...
20
OPE GUIDE BOLT MTD-710-0842

...
21
HEX NUT 5/16-18 (Optional Part) MTD-712-3010

...
22
BRACKET-CA MTD-16201

...
23
Hex Ins. L-Nut 5/16-18 Thd. (Models 060 & 061) MTD-712-0429

...
24
Bell-Wash. .345" I.D. x .88" (Models 060 & 061) MTD-736-0242

...
25
Shld. Bolt .437" Dia. x .268 (Models 060 & 061) MTD-738-0296

...
26
Hex Bolt 5/16-24 x 1.00" Lg. (Grade 5) Special MTD-710-0888

...
27
Hex Bolt 3/8-24 x 2.25" Lg. (Grade 5) MTD-710-0331

...
28
Hex Nut 5/16-24 Thd. MTD-912-3057

...
29
Blade Adapter Kit MTD-753-0348

...
30
L-Wash. 3/8" I.D.-H.D. MTD-736-0217

...
31
Lock Wash. 5/16" I.D. (Optional Part) MTD-936-0119

...
32
RETAINER STRIP MTD-14846

...
33
Hex Screw, 1/4-14 x 0.625" MTD-710-0896

...
34
FLAP ASSEMBLY MTD-731-0794

...
35
Hex Nut 3/8-16 Thd. MTD-712-0798

...
36
Bell-Wash. .400" I.D. x .88" MTD-736-0105

...
37
Front Axle Bolt (Models 060 & 061) MTD-738-0213

...
xx
Front Axle Bolt (Models 062 & 063) MTD-738-0102

...
39
Bell-Wash. .39" I.D. x 1.13" (Models 060 & 061) MTD-736-0331

...
40
SHOULDER SCREW .498 DI (Models 060 & 061) MTD-738-0509

...
xx
Rear Axle Bolt (Models 062 & 063) MTD-738-0102

...
41
Spacer .511 I.D. x .70" O.D. (Models 060 & 061) MTD-750-0515

...
42
BRACKET-CA MTD-14924

...
43

...
44
Control Cable - 49" (B&S) MTD-946-0552

...
xx
Control Cable 39" (Tec.) MTD-946-0550

...
45
SCREW 1/4-28 x 1.75 GR5 MTD-710-0559

...
46
Spring Wash. .265 I.D. x .562 O.D. MTD-936-0175

...
47
Hex Nut 1/4-28 Thd. MTD-712-0138

...
48
BAFFLE-20 (Optional Part) MTD-16414

...
49
Truss Mach. B-Tap Scr. #10 x .50" Lg. MTD-710-0351

...
50
Hex Bolt 5/16-18 x .75" Lg. MTD-710-0118

...
51
UPPER HANDLE MTD-749-0536

...
xx
UPPER HANDLE MTD-749-0538

...
52
Hex B-Tap Scr. #10 x .38" (Optional Part) MTD-910-0429

...
53
CLAMP-CONDUIT (Optional Part) MTD-751-0369

...
55
BRACKET AS (Models 062 & 063) MTD-12935

...
xx
BRACKET ASSY-HDLE (Not Shown) (Models 062 & 063) MTD-12936

...
56
Height Adj. Ass'y. Comp. (R.H.) (Models 062 & 063) MTD-753-06761

...
xx
Height Adj. Ass'y. Comp. (R.H.) (Not Shown) (Models 062 & 063) MTD-753-06761

...
57
Shoulder Bolt .50" Dia. (Models 062 & 063) MTD-738-0507B

...
58
Front Spring Lever (Models 062 & 063) MTD-94832

...
59
Pivot Bar (Models 062 & 063) (7" wheel assembled in bottom hole, 8" wheel assembled in top hole) MTD-15262B

...
60
Height Adjustment Plate (Models 062 & 063) MTD-787-01290A

...
61
Hairpin Cotter (Models 062 & 063) MTD-714-0104

...
62
Front Baffle (Optional Part) MTD-16328

...
66
Hex Wash. Hd. Self-Tap Scr. 5/16-18 x .50" Lg. (Models 062 & 063) MTD-710-0603

...
67
Hex Wash. Hd. AB-Tap Scr. #8 x .38" Lg. (Optional Part) MTD-710-0227

...
68
CABLE CLAMP (Optional Part) MTD-12894

...
69
Instruction Label-Handle MTD-777-5776

...
70
Hex Bolt 3/8-16 x .75" Lg. (Optional Part) MTD-710-0216

...
72
BELL WASHER (Models 062 & 063) MTD-936-0356

...

...
xx
Hardware Pack (Models 060 & 061) MTD-8060-000-7

...
xx
Hardware Pack (Models 062 & 063) MTD-8062-000-7
...
...
...
...
...
Processing