Welcome,
My Cart
0 item(s)

Models

Parts


product name

195436-0786-01 Briggs and Stratton Engine

Model: 195436-0786-01

Back To Assemblies

Save
Part Not Listed?Part Not Listed?

product name

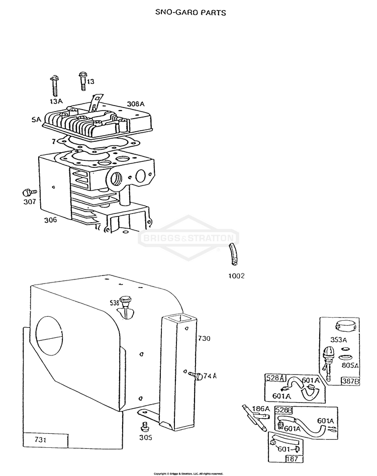
Sno-Gard, Fuel Primer Assy

...
...
5A
HEAD, Cylinder BS-212918

...
7
GASKET, Cylinder Head Included in Gasket Set-Part No. 299577 BS-272163S

...
13A
STUD (Cylinder Head) BS-691690

...
13A
SCREW (2 5/16) (2-5/16) BS-690912

...
13
STUD (Cylinder Head) BS-691690

...
13
SCREW (Cylinder Head) (3 9/16 ) BS-592244

...
74A

...
186A
CONNECTOR, Hose BS-280727

...
187
LINE, Fuel (Cut To Required Length) BS-791745

...
187
LINE, Fuel (Cut To Required Length) BS-841589

...
305
SCREW (1/4-20 X 5/8) BS-692198

...
306
SHIELD-CYLINDER BS-496797

...
307

...
308A
COVER, Cylinder Head (Sno gard) BS-221901

...
353A
WASHER BS-94281

...
387B
PRIMER, Carburetor BS-399255

...
528B
LINE, Fuel (1/4 O.D.) BS-399254

...
528A
HOSE, Primer (1/4 O.D.) BS-793006

...
538
ROD, Governor Control BS-390167

...
601A
CLAMP, Hose BS-691638

...
601
CLAMP, Hose (Green) BS-791850

...
601
CLAMP, Hose (Black) BS-691038

...
730
MANIFOLD, Intake BS-299384

...
731
HOOD, Snow Uses: 222322 Strap-Support 93730 Stud-Strap to Crankcase Cover 93490 Screw-Strap to Hood 93203 Nut-Hex. (1) BS-399159

...
731
HOOD, Snow BS-492291

...
805A
NUT (Primer) BS-94189

...
1002
SHIELD, Blower Housing BS-280738
...
...
...
...
...
Processing